Değerli arkadaşlar,
Başta sn. Dr. ve siteye emeği geçen ve tecrübelerini paylaşan arkadaşlarımızın verdiği bilgiler çerçevesinde, nezamandan beri yapmayı planladığım ama ancak bu uzun Bayram tatilinde fırsat bulduğum çalışmayı tamamladım. Malum kutu vb. malzemelerin kısıtlı seçenekler ile temini sözkonusu olduğu için piyasada muhtelif ebatları bulunan, ön ve arka paneli Alu. olan kutuları kullanarak yaptığım çalışma, evde kulanılabilecek vasat bir seviyede tamamlandı..
Dr.'un tavsiyesine uyarak National'in standart şemasını kullandım. Herhangi bir çizim programı öğrenmeye zaman ve fırsatım olmadığından PCB yi paint de hazırladım. Bu nedenle biraz komik bulabilirsiniz ama fonksiyon olarak beklentilerime rahatlıkla cevap verdi. Dip gürültüsü kesinlikle yok ve oldukça küçük ve kompakt bir PCB oldu.
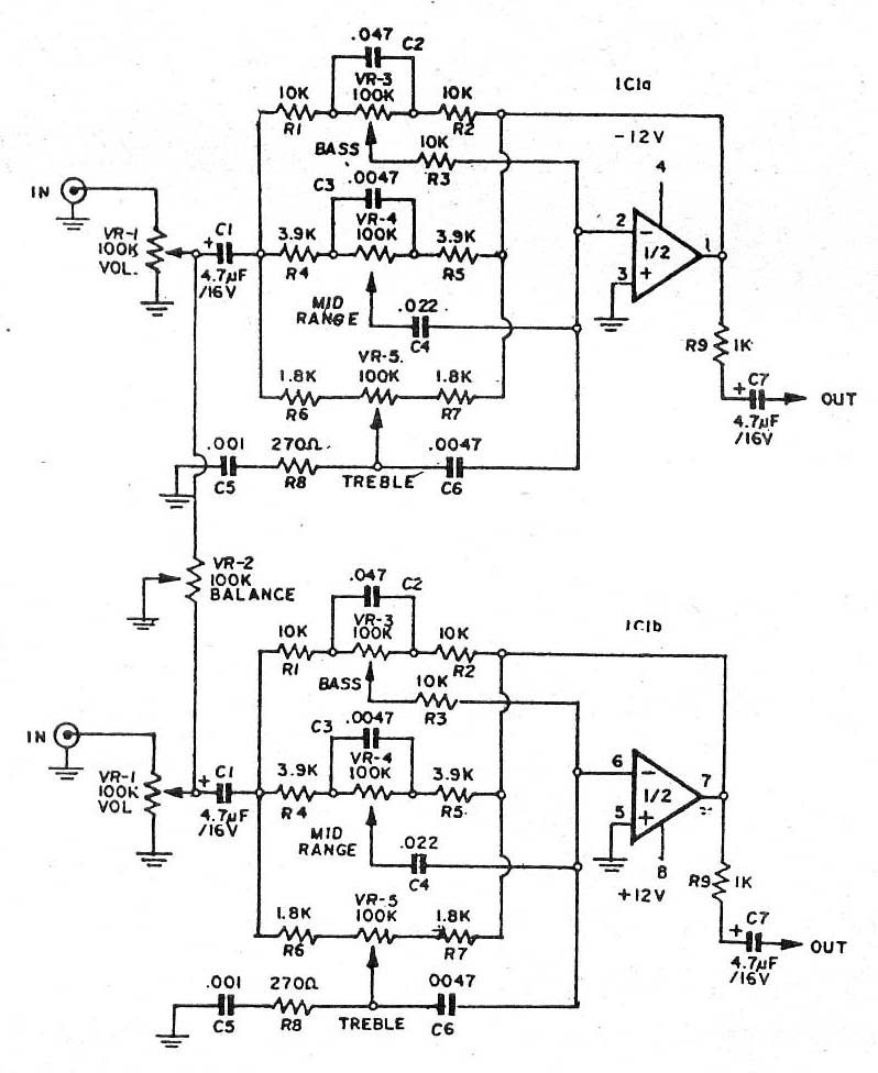
Ton kontrol katı internette bulduğum basit bir devre . Preamfi için kullanılan opamp LM4562. Güç amfisdinde baslar beni tatmin etmediği için bu devreyi ekledim. Distorsyon ve gürültü olarak benim duyabildiğim kadarıyla bir sorun çıkartmadı.
Hepinizin geçmiş bayramını kutlarım .
Sevgi ve Saygılar
Levrek


