

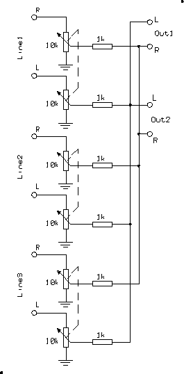
klavyeteur yazdı:bir sitede bulduğum pasif 3 kanal mikserde dc kaçak akımlara koruma için girişlere 10 mikrofarad kondansatör eklenmesi tavsiye edilmiş? bir amatör olarak sorum bu kondansatör yönlümü yoksa bipolarmı? yönlüyse + - yönü nasıl olmalı yardımlarınız için şimdiden teşekkürler
klavyeteur yazdı:cevaplar için çok teşekkürler işin gerçeği bende daha genel ihtiyaçlara cevap verebilen bir mikser taraftarıyım bir müzisyen olarak,bu devreyi de aslında işi tam mikser olan bir devre değilde 2 ampa 3 line giriş olduğu için takıldım;elimde bir 2+1 birde sony müzik seti var ;ses kartını pc nin ses çıkışını birde klavyeyi aynı anda 2 sisteme bağlamak derdindeyim anlıyacağınız
Ön Yükselteç ve Ton Kontrol devreleri
Bu forumu görüntüleyenler: Google [Bot] ve 0 misafir