RAS32 gibi bir SE yapmak istediğimizde aklımıza ilk gelen,
en az devre kadar pwr sply devresi ve orada kullanılacak
kondansatörler olur.
Zaman zaman küçük seri dirençlerle hum etkisini azaltmayı düşünürüz,
faydalıdır da, ama bir endüktif filtre kadar olamaz.
Lambalı yapımında her zaman kullanılan endüktif filtreler burada
neden düşünülmez merak ederim hala.
Oysa bu yolla hem kondansatör ihtiyacımız azalır,
hem de en az regüleli kadar temiz bir besleme voltajımız olur.
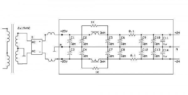
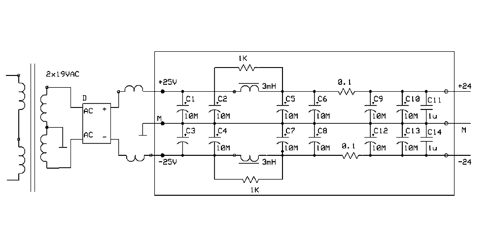
Ekte paylaştığım devreyi bu amaçla sunuyorum.
100.000uF (100mF) kondansatör kullansanız bir endüktif filtrenin
yaptığını yapamaz burada.
Umarım faydalı olur.
Selamlarımla...
not: Bu tip devreler aslında darbeli yüklerle test edilmelidir,
basiret bağlanması oluyor zaman zaman bu paylaşımda olduğu gibi.
O nedenle anahtarlama ile yük değişimleri kurgulanıp
son halini yükledim.
Hatta selfi de sardım, 4W trafo 2x1mm tel ile 30spir yeterli oluyor.
Gerçek yük ve beslemeyi toparladıktan sonra sonuçları paylaşırım.












